Наша группа Вконтакте vk.com/4ertimcom

ГОСТ 10001-15000

ГОСТ 11612.6-83

E-mail автора: 

Умножители фотоэлектронные. Методы измерения светового эквивалента шума темнового тока анода

Обозначение: ГОСТ 11612.6-83
Статус: действующий
Название рус.: Умножители фотоэлектронные. Методы измерения светового эквивалента шума темнового тока анода
Название англ.: Photomultipliers. Measuring methods of light equivalent of anode dark current noise
Дата актуализации текста: 19.06.2012
Дата актуализации описания: 19.06.2012
Дата введения в действие: 01.07.1984
Область и условия применения: Настоящий стандарт распространяется на фотоэлектронные умножители с числом каскадов умножения более одного и устанавливает два метода косвенного измерения светового эквивалента шума темнового тока анода
Взамен: ГОСТ 11612.6-75
Список изменений: №0 от 22.12.1988 (рег. 22.12.1988) «Срок действия продлен»


ГОСТ 11612.6-83
ГОСТ 11612.6-83
ГОСТ 11612.6-83
ГОСТ 11612.6-83
ГОСТ 11612.6-83
ГОСТ 11612.6-83
ГОСТ 11612.6-83
ГОСТ 11612.6-83
Автор: 
Домашняя страница автора: 

ГОСТ 13236-83

E-mail автора: 

Порошки периклазовые электротехнические. Технические условия

Обозначение: ГОСТ 13236-83
Статус: действующий
Название рус.: Порошки периклазовые электротехнические. Технические условия
Название англ.: Electrotechnical periclase powders. Specifications
Дата актуализации текста: 19.06.2012
Дата актуализации описания: 19.06.2012
Дата введения в действие: 01.07.1984
Область и условия применения: Настоящий стандарт распространяется на электротехнические периклазовые порошки, применяемые в качестве электроизоляционных наполнителей в трубчатых электронагревателях (ТЭНах) и других электротехнических приборах и устройствах
Взамен: ГОСТ 13236-73
Список изменений: №1 от 01.01.1988 (рег. 12.08.1987) «Срок действия продлен»
№2 от 01.09.1990 (рег. 06.03.1990) «Срок действия продлен»
№3 от 01.01.1992 (рег. 08.08.1991) «Срок действия продлен»


ГОСТ 13236-83
ГОСТ 13236-83
ГОСТ 13236-83
ГОСТ 13236-83
ГОСТ 13236-83
ГОСТ 13236-83
ГОСТ 13236-83
ГОСТ 13236-83
ГОСТ 13236-83
ГОСТ 13236-83
ГОСТ 13236-83
ГОСТ 13236-83
ГОСТ 13236-83
ГОСТ 13236-83
Автор: 
Домашняя страница автора: 

ГОСТ 12554.2-83

E-mail автора: 

Сплавы платино-рутениевые. Метод спектрального анализа

Обозначение: ГОСТ 12554.2-83
Статус: действующий
Название рус.: Сплавы платино-рутениевые. Метод спектрального анализа
Название англ.: Platinum-ruthenium alloys. Method of spectral analysis
Дата актуализации текста: 19.06.2012
Дата актуализации описания: 19.06.2012
Дата введения в действие: 01.07.1984
Область и условия применения: Настоящий стандарт устанавливает спектральный метод определения примесей палладия, золота, железа (при массовой доле каждого от 0,01 до 0,10%), родия и иридия (при массовой доле каждого от 0,02 до 0,20%) в платино-рутениевых сплавах
Взамен в части: ГОСТ 12554-67 в части разд. 3
Список изменений: №1 от 01.07.1989 (рег. 21.09.1988) «Срок действия продлен»


ГОСТ 12554.2-83
ГОСТ 12554.2-83
ГОСТ 12554.2-83
ГОСТ 12554.2-83
Автор: 
Домашняя страница автора: 

ГОСТ 10200-83

E-mail автора: 

Пек каменноугольный электродный. Технические условия

Обозначение: ГОСТ 10200-83
Статус: действующий
Название рус.: Пек каменноугольный электродный. Технические условия
Название англ.: Electrode coal-tar pitch. Specifications
Дата актуализации текста: 19.06.2012
Дата актуализации описания: 19.06.2012
Дата введения в действие: 01.01.1985
Область и условия применения: Настоящий стандарт распространяется на каменноугольный электродный пек, получаемый при переработке каменноугольной смолы.
Каменноугольный электродный пек предназначается для производства анодной массы, угольной и графитированной продукции, конструкционных углеграфитовых материалов, электроугольных изделий и других целей
Взамен: ГОСТ 10200-73
Список изменений: №1 от 01.01.1990 (рег. 20.03.1989) «Срок действия продлен»
№2 от 01.07.1991 (рег. 14.12.1990) «Срок действия продлен»
№3 от 01.01.1997 (рег. 12.09.1996) «Срок действия продлен»
№4 от 01.10.2002 (рег. 18.04.2002) «Текстовое изменение; Изменены ссылочные НД»
№5 от 01.07.2006 (рег. 26.12.2005) «Текстовое изменение; Изменены ссылочные НД»
Приложение №1: Изменение №4 к ГОСТ 10200-83
Приложение №2: Изменение №5 к ГОСТ 10200-83


ГОСТ 10200-83
ГОСТ 10200-83
ГОСТ 10200-83
ГОСТ 10200-83
ГОСТ 10200-83
ГОСТ 10200-83
ГОСТ 10200-83
ГОСТ 10200-83
ГОСТ 10200-83
ГОСТ 10200-83


Изменение №4 к ГОСТ 10200-83

Обозначение: Изменение №4 к ГОСТ 10200-83
Дата введения в действие: 01.10.2002
Дата актуализации: 15.01.2008


Изменение №4 к ГОСТ 10200-83


Изменение №5 к ГОСТ 10200-83

Обозначение: Изменение №5 к ГОСТ 10200-83
Дата введения в действие: 01.07.2006
Дата актуализации: 15.01.2008


Изменение №5 к ГОСТ 10200-83
Автор: 
Домашняя страница автора: 

ГОСТ 11279.3-83

E-mail автора: 

Красители органические. Метод определения устойчивости к воздействию связующих и пластификаторов

Обозначение: ГОСТ 11279.3-83
Статус: действующий
Название рус.: Красители органические. Метод определения устойчивости к воздействию связующих и пластификаторов
Название англ.: Organic dyes. Testing method of colour fastness to adhesives and plastificators
Дата актуализации текста: 19.06.2012
Дата актуализации описания: 19.06.2012
Дата введения в действие: 01.01.1984
Область и условия применения: Настоящий стандарт распространяется на органические красители и устанавливает визуальный метод определения устойчивости красителей к воздействию связующих и пластификаторов
Взамен в части: ГОСТ 11279-65 в части разд. 3


ГОСТ 11279.3-83
ГОСТ 11279.3-83
Автор: 
Домашняя страница автора: 

ГОСТ 11004-84

E-mail автора: 

Вентиляторы шахтные главного проветривания. Технические условия

Обозначение: ГОСТ 11004-84
Статус: действующий
Название рус.: Вентиляторы шахтные главного проветривания. Технические условия
Название англ.: Main mine fans. Specifications
Дата актуализации текста: 19.06.2012
Дата актуализации описания: 19.06.2012
Дата введения в действие: 01.01.1985
Область и условия применения: Настоящий стандарт распространяется на вентиляторы с номинальной подачей от 25 до 630 куб. м/с.
Стандарт не распространяется на вентиляторы с вертикальной осью вращения и вентиляторы, установленные на общей раме с двмгателем
Взамен: ГОСТ 11004-75
Список изменений: №1 от 01.02.1987 (рег. 10.10.1986) «Срок действия продлен»
№2 от 01.07.1987 (рег. 05.02.1987) «Срок действия продлен»
№3 от 01.01.1990 (рег. 07.07.1989) «Срок действия продлен»
№4 от 01.10.1990 (рег. 22.06.1990) «Срок действия продлен»


ГОСТ 11004-84
ГОСТ 11004-84
ГОСТ 11004-84
ГОСТ 11004-84
ГОСТ 11004-84
ГОСТ 11004-84
ГОСТ 11004-84
ГОСТ 11004-84
ГОСТ 11004-84
ГОСТ 11004-84
ГОСТ 11004-84
ГОСТ 11004-84
ГОСТ 11004-84
ГОСТ 11004-84
ГОСТ 11004-84
ГОСТ 11004-84
ГОСТ 11004-84
ГОСТ 11004-84
ГОСТ 11004-84
ГОСТ 11004-84
ГОСТ 11004-84
ГОСТ 11004-84
ГОСТ 11004-84
ГОСТ 11004-84
ГОСТ 11004-84
ГОСТ 11004-84
ГОСТ 11004-84
ГОСТ 11004-84
ГОСТ 11004-84
ГОСТ 11004-84
ГОСТ 11004-84
ГОСТ 11004-84
ГОСТ 11004-84
ГОСТ 11004-84
ГОСТ 11004-84
ГОСТ 11004-84
ГОСТ 11004-84
Автор: 
Домашняя страница автора: 

ГОСТ 13358-84

E-mail автора: 

Ящики дощатые для консервов. Технические условия

Обозначение: ГОСТ 13358-84
Статус: действующий
Название рус.: Ящики дощатые для консервов. Технические условия
Название англ.: Board boxes for canned foods. Specifications
Дата актуализации текста: 19.06.2012
Дата актуализации описания: 19.06.2012
Дата введения в действие: 01.01.1986
Область и условия применения: Настоящий стандарт распространяется на дощатые неразборные ящики, предназначенные для упаковывания, транспортирования и хранения консервов в металлических, стеклянных и комбинированных банках и стеклянных бутылках
Взамен: ГОСТ 13358-72
Список изменений: №1 от 01.07.1986 (рег. 12.12.1985) «Срок действия продлен»
№2 от 01.09.1986 (рег. 30.04.1986) «Срок действия продлен»
№3 от 01.03.1991 (рег. 24.10.1990) «Срок действия продлен»


ГОСТ 13358-84
ГОСТ 13358-84
ГОСТ 13358-84
ГОСТ 13358-84
ГОСТ 13358-84
ГОСТ 13358-84
ГОСТ 13358-84
ГОСТ 13358-84
ГОСТ 13358-84
Автор: 
Домашняя страница автора: 

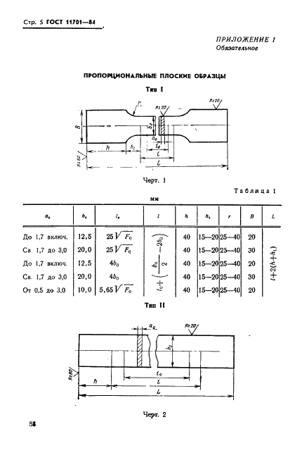
ГОСТ 11701-84

E-mail автора: 

Металлы. Методы испытаний на растяжение тонких листов и лент

Обозначение: ГОСТ 11701-84
Статус: действующий
Название рус.: Металлы. Методы испытаний на растяжение тонких листов и лент
Название англ.: Metals. Methods of tensile testing of thin sheets and strips
Дата актуализации текста: 19.06.2012
Дата актуализации описания: 19.06.2012
Дата введения в действие: 01.01.1986
Область и условия применения: Настоящий стандарт устанавливает методы статических испытаний на растяжение тонких листов и лент из черных и цветных металлов толщиной до 3,0 мм для определения при температуре 20 (плюс 15 минус 10) град. С характеристик механических свойств:
предела пропорциональности; предела текучести физического; предела текучести условного;
временного сопротивления; относительного равномерного удлинения; относительного удлинения после разрыва
Взамен: ГОСТ 11701-66
Список изменений: №1 от 01.03.1988 (рег. 20.10.1987) «Срок действия продлен»
№2 от 01.09.1991 (рег. 25.03.1991) «Срок действия продлен»


ГОСТ 11701-84
ГОСТ 11701-84
ГОСТ 11701-84
ГОСТ 11701-84
ГОСТ 11701-84
ГОСТ 11701-84
ГОСТ 11701-84
ГОСТ 11701-84
ГОСТ 11701-84
ГОСТ 11701-84
ГОСТ 11701-84
ГОСТ 11701-84
ГОСТ 11701-84
ГОСТ 11701-84
ГОСТ 11701-84
Автор: 
Домашняя страница автора: 

ГОСТ 13717-84

E-mail автора: 

Приборы манометрического принципа действия показывающие электроконтактные. Общие технические условия

Обозначение: ГОСТ 13717-84
Статус: действующий
Название рус.: Приборы манометрического принципа действия показывающие электроконтактные. Общие технические условия
Название англ.: Indicating manometric-action instruments with electric contacts. General specifications
Дата актуализации текста: 19.06.2012
Дата актуализации описания: 19.06.2012
Дата введения в действие: 01.07.1985
Область и условия применения: Настоящий стандарт распространяется на показывающие приборы манометрического принципа действия - дифманометры и манометрические термометры с электрическим сигнализирующим устройством, предназначенные для измерения теплотехнических параметров и управления внешними электрическими цепями от сигнализирующих устройств приборов
Взамен: ГОСТ 13717-74
Заменяющий в части: ГОСТ 2405-88 в части манометров, вакуумметров, мановакуумметров, напоромеров, тягомеров и тягонапоромеров; ГОСТ 16920-93 в части термометров манометрических
Список изменений: №1 от 01.03.1986 (рег. 27.09.1985) «Срок действия продлен»
№2 от 01.01.1987 (рег. 10.04.1986) «Срок действия продлен»
№3 от 01.07.1989 (рег. 29.12.1988) «Срок действия продлен»
№4 от 01.07.1990 (рег. 22.12.1989) «Срок действия продлен»


ГОСТ 13717-84
ГОСТ 13717-84
ГОСТ 13717-84
ГОСТ 13717-84
ГОСТ 13717-84
ГОСТ 13717-84
ГОСТ 13717-84
ГОСТ 13717-84
ГОСТ 13717-84
ГОСТ 13717-84
ГОСТ 13717-84
Автор: 
Домашняя страница автора: 

ГОСТ 10739-84

E-mail автора: 

Автоматы листоштамповочные с нижним приводом. Параметры и размеры. Нормы точности

Обозначение: ГОСТ 10739-84
Статус: действующий
Название рус.: Автоматы листоштамповочные с нижним приводом. Параметры и размеры. Нормы точности
Название англ.: Automatic sheet stamping presses with underheath drive. Parameters and dimensions. Norms of accuracy
Дата актуализации текста: 19.06.2012
Дата актуализации описания: 19.06.2012
Дата введения в действие: 01.01.1986
Область и условия применения: Настоящий стандарт распространяется на листоштамповочные автоматы с нижним приводом, предназначенные для выполнения различных операций листовой штамповки деталей из ленты и полосы, изготавливаемые для нужд народного хозяйства и экспорта
Взамен: ГОСТ 10739-78 ГОСТ 10740-79
Список изменений: №1 от 01.07.1986 (рег. 16.08.1985) «Срок действия продлен»
№2 от 01.01.1991 (рег. 06.03.1989) «Поправка»
№3 от 01.06.1991 (рег. 24.12.1990) «Срок действия продлен»
№4 от 01.01.1993 (рег. 24.04.1992) «Срок действия продлен»


ГОСТ 10739-84
ГОСТ 10739-84
ГОСТ 10739-84
ГОСТ 10739-84
ГОСТ 10739-84
ГОСТ 10739-84
ГОСТ 10739-84
ГОСТ 10739-84
ГОСТ 10739-84
ГОСТ 10739-84
ГОСТ 10739-84
ГОСТ 10739-84
ГОСТ 10739-84
ГОСТ 10739-84
ГОСТ 10739-84
ГОСТ 10739-84
ГОСТ 10739-84
ГОСТ 10739-84
ГОСТ 10739-84
Автор: 
Домашняя страница автора: 

Страницы