Наша группа Вконтакте vk.com/4ertimcom

ГОСТ 25001-30000

ГОСТ 25886-83

E-mail автора: 

Детали из листового проката, штампуемые с применением универсально-переналаживаемых штампов. Типы, формы и размеры основных элементов

Обозначение: ГОСТ 25886-83
Статус: действующий
Название рус.: Детали из листового проката, штампуемые с применением универсально-переналаживаемых штампов. Типы, формы и размеры основных элементов
Название англ.: Elements made of rolled sheets to be stamped by means of all-purpose readjustable dies. Types, forms and sizes of main parts
Дата актуализации текста: 19.06.2012
Дата актуализации описания: 19.06.2012
Дата введения в действие: 01.01.1985
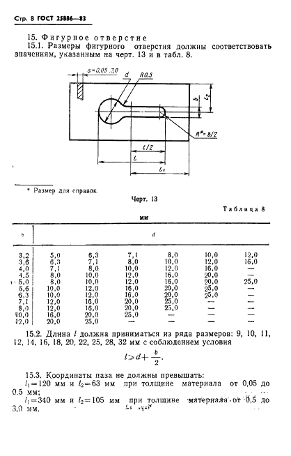
Область и условия применения: Настоящий стандарт распространяется на элементы деталей из черных и цветных металлов и сплавов, штампуемые из листового проката толщиной от 0,05 до 3,0 мм с применением разделительных операций на универсально-переналаживаемых штампах


ГОСТ 25886-83
ГОСТ 25886-83
ГОСТ 25886-83
ГОСТ 25886-83
ГОСТ 25886-83
ГОСТ 25886-83
ГОСТ 25886-83
ГОСТ 25886-83
ГОСТ 25886-83
ГОСТ 25886-83
ГОСТ 25886-83
ГОСТ 25886-83
Автор: 
Домашняя страница автора: 

ГОСТ 26006-83

E-mail автора: 

Полотна и изделия трикотажные. Методы определения явной и скрытой прорубки

Обозначение: ГОСТ 26006-83
Статус: действующий
Название рус.: Полотна и изделия трикотажные. Методы определения явной и скрытой прорубки
Название англ.: Knitted fabrics and garments. Methods of determining visible and invisible needle cut
Дата актуализации текста: 19.06.2012
Дата актуализации описания: 19.06.2012
Дата введения в действие: 01.01.1985
Область и условия применения: Настоящий стандарт распространяется на трикотажные полотна и изделия из всех видов пряжи и нитей и устанавливает методы определения явной и скрытой прорубки
Стандарт не распространяется на чулочно-носочные изделия и на прикеттлеванные детали изделий
Взамен в части: ГОСТ 9176-77 в части разд. 6
Список изменений: №1 от 01.01.1990 (рег. 12.06.1989) «Срок действия продлен»


ГОСТ 26006-83
ГОСТ 26006-83
ГОСТ 26006-83
ГОСТ 26006-83
ГОСТ 26006-83
ГОСТ 26006-83
ГОСТ 26006-83
ГОСТ 26006-83
ГОСТ 26006-83
ГОСТ 26006-83
ГОСТ 26006-83
ГОСТ 26006-83
ГОСТ 26006-83
ГОСТ 26006-83
ГОСТ 26006-83
ГОСТ 26006-83
ГОСТ 26006-83
Автор: 
Домашняя страница автора: 

ГОСТ 25702.2-83

E-mail автора: 

Концентраты редкометаллические. Метод определения окиси бария

Обозначение: ГОСТ 25702.2-83
Статус: действующий
Название рус.: Концентраты редкометаллические. Метод определения окиси бария
Название англ.: Raremetallic concentrates. Method for the determination of barium oxide
Дата актуализации текста: 19.06.2012
Дата актуализации описания: 19.06.2012
Дата введения в действие: 01.07.1984
Область и условия применения: Настоящий стандарт распространяется на редкометаллические концентраты и устанавливает атомно-абсорбционный метод определения окиси бария (при массовой доле от 0,4 до 12%) в целестиновом концентрате, содержащем от 70 до 95% сернокислого стронция, не более 15% окиси кальция и не более 2% суммы окисей алюминия, кремния и железа
Список изменений: №1 от 01.04.1989 (рег. 29.09.1988) «Срок действия продлен»


ГОСТ 25702.2-83
ГОСТ 25702.2-83
ГОСТ 25702.2-83
ГОСТ 25702.2-83
Автор: 
Домашняя страница автора: 

ГОСТ 25702.0-83

E-mail автора: 

Концентраты редкометаллические. Общие требования к методам анализа

Обозначение: ГОСТ 25702.0-83
Статус: действующий
Название рус.: Концентраты редкометаллические. Общие требования к методам анализа
Название англ.: Raremetallic concentrates. General requirements to the methods of analysis
Дата актуализации текста: 19.06.2012
Дата актуализации описания: 19.06.2012
Дата введения в действие: 01.07.1984
Область и условия применения: Настоящий стандарт распространяется на редкометаллические концентраты: бадделеитовый, ильменитовый, иттросинхизитовый, лопаритовый, черновой ниобиевый (пирохлоровый), ниобиевый (пирохлоровый), рутиловый, танталитовый, черновой танталовой, целестиновый, цирконовый, устанавливает общие требования к методам анализа и требования безопасности при проведении анализа по определению их химического состава
Список изменений: №1 от 01.04.1989 (рег. 29.09.1988) «Срок действия продлен»


ГОСТ 25702.0-83
ГОСТ 25702.0-83
ГОСТ 25702.0-83
ГОСТ 25702.0-83
ГОСТ 25702.0-83
ГОСТ 25702.0-83
ГОСТ 25702.0-83
ГОСТ 25702.0-83
ГОСТ 25702.0-83
ГОСТ 25702.0-83
ГОСТ 25702.0-83
ГОСТ 25702.0-83
ГОСТ 25702.0-83
ГОСТ 25702.0-83
Автор: 
Домашняя страница автора: 

ГОСТ 25601-83

E-mail автора: 

Ключи с присоединительными квадратами. Типы и основные размеры

Обозначение: ГОСТ 25601-83
Статус: действующий
Название рус.: Ключи с присоединительными квадратами. Типы и основные размеры
Название англ.: Wrenches with connecting squares. Types and basic dimensions
Дата актуализации текста: 19.06.2012
Дата актуализации описания: 19.06.2012
Дата введения в действие: 01.01.1984
Область и условия применения: Настоящий стандарт распространяется на гаечные торцовые немеханизированные ключи к сменным головкам с присоединительными квадратами, изготовляемые для нужд народного хозяйства и для экспорта
Взамен: ГОСТ 22404-77


ГОСТ 25601-83
ГОСТ 25601-83
ГОСТ 25601-83
Автор: 
Домашняя страница автора: 

ГОСТ 25616-83

E-mail автора: 

Источники питания для дуговой сварки. Методы испытания сварочных свойств

Обозначение: ГОСТ 25616-83
Статус: действующий
Название рус.: Источники питания для дуговой сварки. Методы испытания сварочных свойств
Название англ.: Arc welding power sources. Method of testing welding properties
Дата актуализации текста: 19.06.2012
Дата актуализации описания: 19.06.2012
Дата введения в действие: 01.01.1984
Область и условия применения: Настоящий стандарт распространяется на источники питания для ручной дуговой сварки покрытыми электродами и автоматической и полуавтоматической сварки в углекислом газе плавящимся электродом.
Настоящий стандарт не распространяется на специальные источники питания, например, для подводной сварки
Список изменений: №0 от 15.06.1988 (рег. 15.06.1988) «Срок действия продлен»


ГОСТ 25616-83
ГОСТ 25616-83
ГОСТ 25616-83
ГОСТ 25616-83
ГОСТ 25616-83
ГОСТ 25616-83
ГОСТ 25616-83
ГОСТ 25616-83
ГОСТ 25616-83
ГОСТ 25616-83
ГОСТ 25616-83
ГОСТ 25616-83
ГОСТ 25616-83
ГОСТ 25616-83
ГОСТ 25616-83
ГОСТ 25616-83
ГОСТ 25616-83
ГОСТ 25616-83
ГОСТ 25616-83
Автор: 
Домашняя страница автора: 

ГОСТ 25763-83

E-mail автора: 

Источники высокоинтенсивного оптического излучения газоразрядные для накачки лазеров. Основные размеры

Обозначение: ГОСТ 25763-83
Статус: действующий
Название рус.: Источники высокоинтенсивного оптического излучения газоразрядные для накачки лазеров. Основные размеры
Название англ.: Gas-discharge sources of high-intensity optical radiation for laser pumping. Basic dimensions
Дата актуализации текста: 19.06.2012
Дата актуализации описания: 19.06.2012
Дата введения в действие: 01.07.1984
Область и условия применения: Настоящий стандарт распространяется на трубчатые прямые газоразрядные источники высокоинтенсивного оптического излучения импульсного и нерерывного действия, применяемые для накачки лазеров производственно-технического назначения и изготовляемые для нужд народного хозяйства и экспорта, и устанавливает допустимые сочетания значений типовых внутренних диаметров, расстояний между электродами ламп и присоединительных размеров
Взамен: ГОСТ 17399-77 ГОСТ 20574-80 ГОСТ 24574-81


ГОСТ 25763-83
ГОСТ 25763-83
ГОСТ 25763-83
ГОСТ 25763-83
Автор: 
Домашняя страница автора: 

ГОСТ 25615-83

E-mail автора: 

Газоанализаторы автоматические для угольных шахт. Общие технические требования

Обозначение: ГОСТ 25615-83
Статус: действующий
Название рус.: Газоанализаторы автоматические для угольных шахт. Общие технические требования
Название англ.: Automatic gas analyzer for coal mine. General technical requirements
Дата актуализации текста: 19.06.2012
Дата актуализации описания: 19.06.2012
Дата введения в действие: 01.01.1984
Область и условия применения: Настоящий стандарт распространяется на автоматические газоанализаторы для непрерывного контроля микроконцентраций окиси углерода в шахтном воздухе для обнаружения эндогенных и экзогенных пожаров на угольных шахтах
Список изменений: №0 от 22.06.1988 (рег. 22.06.1988) «Срок действия продлен»
№1 от 01.01.1987 (рег. 13.08.1986) «Срок действия продлен»
№2 от 01.05.1989 (рег. 29.11.1988) «Срок действия продлен»


ГОСТ 25615-83
ГОСТ 25615-83
ГОСТ 25615-83
ГОСТ 25615-83
ГОСТ 25615-83
ГОСТ 25615-83
ГОСТ 25615-83
ГОСТ 25615-83
ГОСТ 25615-83
ГОСТ 25615-83
ГОСТ 25615-83
Автор: 
Домашняя страница автора: 

ГОСТ 25691-83

E-mail автора: 

Кожа искусственная и синтетическая для одежды. Метод определения динамического и статического коэффициентов трения

Обозначение: ГОСТ 25691-83
Статус: действующий
Название рус.: Кожа искусственная и синтетическая для одежды. Метод определения динамического и статического коэффициентов трения
Название англ.: Artificial and synthetic leather for clothing. Method of defining of dynamic and static friction factors
Дата актуализации текста: 19.06.2012
Дата актуализации описания: 19.06.2012
Дата введения в действие: 01.07.1984
Область и условия применения: Настоящий стандарт распространяется на искусственную и синтетическую кожу для бытовой и специальной одежды, полученную обработкой ткани, трикотажа и других основ полимерными материалами, и устанавливает метод определения динамического и статического коэффициентов трения
Список изменений: №1 от 01.07.1987 (рег. 13.02.1987) «Срок действия продлен»


ГОСТ 25691-83
ГОСТ 25691-83
ГОСТ 25691-83
ГОСТ 25691-83
ГОСТ 25691-83
ГОСТ 25691-83
ГОСТ 25691-83
ГОСТ 25691-83
ГОСТ 25691-83
ГОСТ 25691-83
ГОСТ 25691-83
ГОСТ 25691-83
Автор: 
Домашняя страница автора: 

ГОСТ 25702.1-83

E-mail автора: 

Концентраты редкометаллические. Метод определения окиси алюминия

Обозначение: ГОСТ 25702.1-83
Статус: действующий
Название рус.: Концентраты редкометаллические. Метод определения окиси алюминия
Название англ.: Raremetallic concentrates. Method for the determination of alumina
Дата актуализации текста: 19.06.2012
Дата актуализации описания: 19.06.2012
Дата введения в действие: 01.07.1984
Область и условия применения: Настоящий стандарт распространяется на редкометаллические концентраты и устанавливает комплексонометрический метод определения окиси алюминия в ильменитовом (при массовой доле от 2 до 6 %), иттросинхизитовом (при массовой доле от 2 до 3 %) и цирконовом (при массовой доле от 1,5 до 3 %) концентратах
Список изменений: №1 от 01.04.1989 (рег. 29.09.1988) «Срок действия продлен»


ГОСТ 25702.1-83
ГОСТ 25702.1-83
ГОСТ 25702.1-83
ГОСТ 25702.1-83
ГОСТ 25702.1-83
ГОСТ 25702.1-83
ГОСТ 25702.1-83
ГОСТ 25702.1-83
Автор: 
Домашняя страница автора: 

Страницы