Наша группа Вконтакте vk.com/4ertimcom

ГОСТ 10001-15000

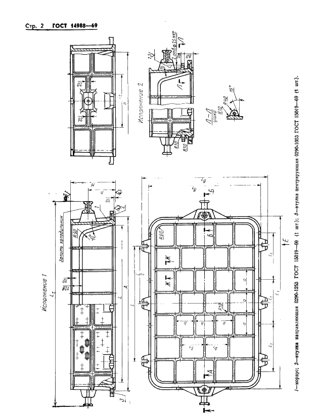
ГОСТ 14984-69

E-mail автора: 

Опоки литейные цельнолитые стальные круглые диаметром в свету 800; 1000 мм, высотой 500 мм. Конструкция и размеры

Обозначение: ГОСТ 14984-69
Статус: действующий
Название рус.: Опоки литейные цельнолитые стальные круглые диаметром в свету 800; 1000 мм, высотой 500 мм. Конструкция и размеры
Название англ.: Circular steel all-cast moulding boxes having inside diameter 800; 1000 mm, height 500 mm. Construction and dimensions
Дата актуализации текста: 19.06.2012
Дата актуализации описания: 19.06.2012
Дата введения в действие: 01.01.1971
Область и условия применения: Настоящий стандарт распространяется на литейные цельнолитые стальные круглые опоки, предназначенные для изготовления песчаных литейных форм при машинной, пескометной и ручной формовке.
Стандарт не распространяется на опоки, применяемые при формовке методом прессования под высоким удельным давлением
Взамен: МН 1989-61
Список изменений: №1 от 01.11.1980 (рег. 10.07.1980) «Срок действия продлен»


ГОСТ 14984-69
ГОСТ 14984-69
ГОСТ 14984-69
ГОСТ 14984-69
Автор: 
Домашняя страница автора: 

ГОСТ 14839.19-69

E-mail автора: 

Взрывчатые вещества промышленные. Методы определения полноты детонации

Обозначение: ГОСТ 14839.19-69
Статус: действующий
Название рус.: Взрывчатые вещества промышленные. Методы определения полноты детонации
Название англ.: Industrial explosives. Methods of full detonation determination
Дата актуализации текста: 19.06.2012
Дата актуализации описания: 19.06.2012
Дата введения в действие: 01.01.1970
Область и условия применения: Настоящий стандарт распространяется на промышленные взрывчатые вещества и устанавливает методы определения полноты детонации в бумажной и стальной оболочке
Взамен в части: ГОСТ 9073-64 в части п. 50
Список изменений: №1 от 01.07.1980 (рег. 24.01.1980) «Срок действия продлен»


ГОСТ 14839.19-69
ГОСТ 14839.19-69
ГОСТ 14839.19-69
ГОСТ 14839.19-69
ГОСТ 14839.19-69
ГОСТ 14839.19-69
Автор: 
Домашняя страница автора: 

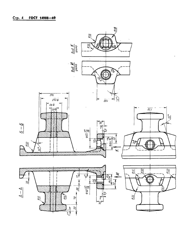
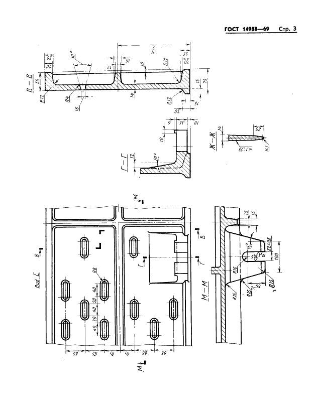
ГОСТ 14988-69

E-mail автора: 

Опоки литейные цельнолитые стальные прямоугольные размерами в свету: длиной от 1600 до 2000 мм, шириной 1000; 1200 мм, высотой 450; 500 мм. Конструкция и размеры

Обозначение: ГОСТ 14988-69
Статус: действующий
Название рус.: Опоки литейные цельнолитые стальные прямоугольные размерами в свету: длиной от 1600 до 2000 мм, шириной 1000; 1200 мм, высотой 450; 500 мм. Конструкция и размеры
Название англ.: Rectangular steel all-cast moulding boxes having inside dimensions: length from 1600 to 2000 mm, width 1000; 1200 mm, height 450; 500 mm. Construction and dimensions
Дата актуализации текста: 19.06.2012
Дата актуализации описания: 19.06.2012
Дата введения в действие: 01.01.1971
Область и условия применения: Настоящий стандарт распространяется на литейные цельнолитые стальные прямоугольные опоки, предназначенные для изготовления песчаных литейных форм при машинной, пескометной и ручной формовке.
Стандарт не распространяется на опоки, применяемые при формовке методом прессования под высоким удельным давлением
Взамен: МН 1993-61
Список изменений: №1 от 01.11.1980 (рег. 10.07.1980) «Срок действия продлен»


ГОСТ 14988-69
ГОСТ 14988-69
ГОСТ 14988-69
ГОСТ 14988-69
ГОСТ 14988-69
Автор: 
Домашняя страница автора: 

ГОСТ 14839.2-69

E-mail автора: 

Взрывчатые вещества промышленные. Метод определения содержания нитроэфиров

Обозначение: ГОСТ 14839.2-69
Статус: действующий
Название рус.: Взрывчатые вещества промышленные. Метод определения содержания нитроэфиров
Название англ.: Industrial explosives. Methods for determination of nitroethers content
Дата актуализации текста: 19.06.2012
Дата актуализации описания: 19.06.2012
Дата введения в действие: 01.01.1970
Область и условия применения: Настоящий стандарт распространяется на промышленные взрывчатые вещества и устанавливает метод определения массовой доли нитроэфиров
Взамен в части: ГОСТ 9073-64 в части п. 32
Список изменений: №1 от 01.07.1980 (рег. 24.01.1980) «Срок действия продлен»


ГОСТ 14839.2-69
ГОСТ 14839.2-69
ГОСТ 14839.2-69
ГОСТ 14839.2-69
Автор: 
Домашняя страница автора: 

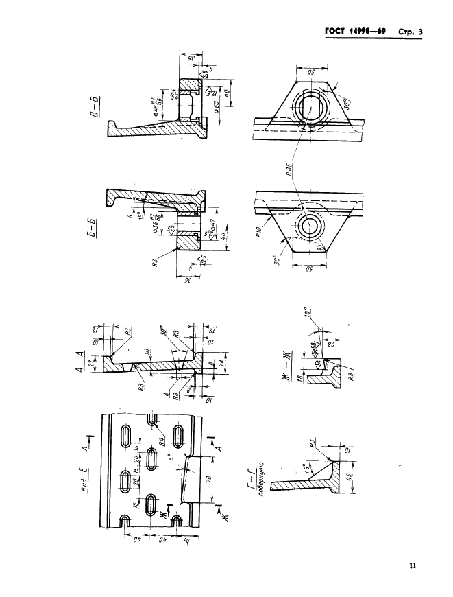
ГОСТ 14998-69

E-mail автора: 

Опоки литейные цельнолитые чугунные прямоугольные размерами в свету: длиной от 400 до 500 мм, шириной от 300 до 400 мм, высотой от 100 до 200 мм. Конструкция и размеры

Обозначение: ГОСТ 14998-69
Статус: действующий
Название рус.: Опоки литейные цельнолитые чугунные прямоугольные размерами в свету: длиной от 400 до 500 мм, шириной от 300 до 400 мм, высотой от 100 до 200 мм. Конструкция и размеры
Название англ.: Rectangular iron all-cast moulding boxes having inside dimensions: length from 400 to 500 mm, width from 300 to 400 mm, height from 100 to 200 mm. Construction and dimensions
Дата актуализации текста: 19.06.2012
Дата актуализации описания: 19.06.2012
Дата введения в действие: 01.01.1971
Область и условия применения: Настоящий стандарт распространяется на литейные цельнолитые чугунные прямоугольные опоки, предназначенные для изготовления песчаных литейных форм при машинной и ручной формовке.
Стандарт не распространяется на опоки, применяемые при формовке методом прессования под высоким удельным давлением
Взамен: МН 2003-61
Список изменений: №1 от 01.11.1980 (рег. 10.07.1980) «Срок действия продлен»


ГОСТ 14998-69
ГОСТ 14998-69
ГОСТ 14998-69
ГОСТ 14998-69
Автор: 
Домашняя страница автора: 

ГОСТ 14362-69

E-mail автора: 

Пряжа хлопчатобумажная суровая одиночная кардная ровничная. Технические условия

Обозначение: ГОСТ 14362-69
Статус: действующий
Название рус.: Пряжа хлопчатобумажная суровая одиночная кардная ровничная. Технические условия
Название англ.: Carded cotton grey single roving yarn. Specifications
Дата актуализации текста: 19.06.2012
Дата актуализации описания: 19.06.2012
Дата введения в действие: 01.01.1970
Область и условия применения: Настоящий стандарт распространяется на хлопчатобумажную суровую одиночную кардную ровничную пряжу, применяемую для производства огнепроводного шнура
Список изменений: №1 от 01.03.1970 (рег. 29.01.1970) «Срок действия продлен»
№2 от 01.10.1981 (рег. 12.05.1981) «Срок действия продлен»
№3 от 01.04.1985 (рег. 28.09.1984) «Срок действия продлен»


ГОСТ 14362-69
ГОСТ 14362-69
ГОСТ 14362-69
ГОСТ 14362-69
ГОСТ 14362-69
ГОСТ 14362-69
ГОСТ 14362-69
Автор: 
Домашняя страница автора: 

ГОСТ 14839.3-69

E-mail автора: 

Взрывчатые вещества промышленные. Метод определения массовой доли аммиачной селитры

Обозначение: ГОСТ 14839.3-69
Статус: действующий
Название рус.: Взрывчатые вещества промышленные. Метод определения массовой доли аммиачной селитры
Название англ.: Industrial explosives. Method for determination of ammonium saltpetre total mass fraction
Дата актуализации текста: 19.06.2012
Дата актуализации описания: 19.06.2012
Дата введения в действие: 01.01.1970
Область и условия применения: Настоящий стандарт распространяется на промышленные взрывчатые вещества, выпускаемые по стандартам и техническим условиям, и устанавливает метод определения массовой доли аммиачной селитры
Взамен в части: ГОСТ 9073-64 в части пп. 34, 40
Список изменений: №1 от 01.07.1980 (рег. 24.01.1980) «Срок действия продлен»
№2 от 01.09.1990 (рег. 26.02.1990) «Поправка»


ГОСТ 14839.3-69
ГОСТ 14839.3-69
ГОСТ 14839.3-69
ГОСТ 14839.3-69
ГОСТ 14839.3-69
ГОСТ 14839.3-69
ГОСТ 14839.3-69
ГОСТ 14839.3-69
Автор: 
Домашняя страница автора: 

ГОСТ 14995-69

E-mail автора: 

Опоки литейные цельнолитые стальные прямоугольные размерами в свету: длиной от 2400 до 3000 мм, шириной от 1600 до 2000 мм, высотой 700; 800 мм. Конструкция и размеры

Обозначение: ГОСТ 14995-69
Статус: действующий
Название рус.: Опоки литейные цельнолитые стальные прямоугольные размерами в свету: длиной от 2400 до 3000 мм, шириной от 1600 до 2000 мм, высотой 700; 800 мм. Конструкция и размеры
Название англ.: Rectangular steel all-cast moulding boxes having inside dimensions: length from 2400 to 3000 mm, width from 1600 to 2000 mm, height 700; 800 mm. Construction and dimensions
Дата актуализации текста: 19.06.2012
Дата актуализации описания: 19.06.2012
Дата введения в действие: 01.01.1971
Область и условия применения: Настоящий стандарт распространяется на литейные цельнолитые стальные прямоугольные опоки, предназначенные для изготовления песчаных литейных форм при машинной, пескометной и ручной формовке
Взамен: МН 2000-61
Список изменений: №1 от 01.11.1980 (рег. 10.07.1980) «Срок действия продлен»


ГОСТ 14995-69
ГОСТ 14995-69
ГОСТ 14995-69
ГОСТ 14995-69
ГОСТ 14995-69
ГОСТ 14995-69
Автор: 
Домашняя страница автора: 

ГОСТ 14839.12-69

E-mail автора: 

Взрывчатые вещества промышленные. Методы определения содержания влаги

Обозначение: ГОСТ 14839.12-69
Статус: действующий
Название рус.: Взрывчатые вещества промышленные. Методы определения содержания влаги
Название англ.: Industrial explosives. Methods of moisture content determination
Дата актуализации текста: 19.06.2012
Дата актуализации описания: 19.06.2012
Дата введения в действие: 01.01.1970
Область и условия применения: Настоящий стандарт распространяется на промышленные взрывчатые вещества, выпускаемые по стандартам и техническим условиям, и устанавливает следующие методы определения содержания влаги:
с помощью прибора ускоренной сушки с инфракрасной электролампой во взрывчатых веществах, не содержащих нитроэфиры;
в сушильных шкафах во взрывчатых веществах, не содержащих нитроэфиры;
в вакуумном эксикаторе во взрывчатых веществах, содержащих нитроэфиры
Взамен в части: ГОСТ 9073-64 в части п. 43
Список изменений: №1 от 01.07.1980 (рег. 24.01.1980) «Срок действия продлен»


ГОСТ 14839.12-69
ГОСТ 14839.12-69
ГОСТ 14839.12-69
ГОСТ 14839.12-69
ГОСТ 14839.12-69
Автор: 
Домашняя страница автора: 

ГОСТ 14839.6-69

E-mail автора: 

Взрывчатые вещества промышленные. Метод определения содержания натриевой соли карбоксиметилцеллюлозы

Обозначение: ГОСТ 14839.6-69
Статус: действующий
Название рус.: Взрывчатые вещества промышленные. Метод определения содержания натриевой соли карбоксиметилцеллюлозы
Название англ.: Industrial explosives. Method for determination of nitrate carboxymethyl cellulose content
Дата актуализации текста: 19.06.2012
Дата актуализации описания: 19.06.2012
Дата введения в действие: 01.01.1970
Область и условия применения: Настоящий стандарт распространяется на промышленные взрывчатые вещества, выпускаемые по стандартам и техническим условиям, и устанавливает метод определения содержания натриевой соли карбоксиметилцеллюлозы
Список изменений: №1 от 01.07.1980 (рег. 24.01.1980) «Срок действия продлен»


ГОСТ 14839.6-69
ГОСТ 14839.6-69
ГОСТ 14839.6-69
Автор: 
Домашняя страница автора: 

Страницы