Наша группа Вконтакте vk.com/4ertimcom
ГОСТ Р ИСО 8586-1-2008
E-mail автора:
Органолептический анализ. Общее руководство по отбору, обучению и контролю испытателей. Часть 1. Отобранные испытатели
| Обозначение: | ГОСТ Р ИСО 8586-1-2008 | ||
| Статус: | действующий | ||
| Название рус.: | Органолептический анализ. Общее руководство по отбору, обучению и контролю испытателей. Часть 1. Отобранные испытатели | ||
| Название англ.: | Sensory analysis. General guidance for the selection, training and monitoring of assessors. Part 1. Selected assessors | ||
| Дата актуализации текста: | 19.06.2012 | ||
| Дата актуализации описания: | 19.06.2012 | ||
| Дата введения в действие: | 01.01.2010 | ||
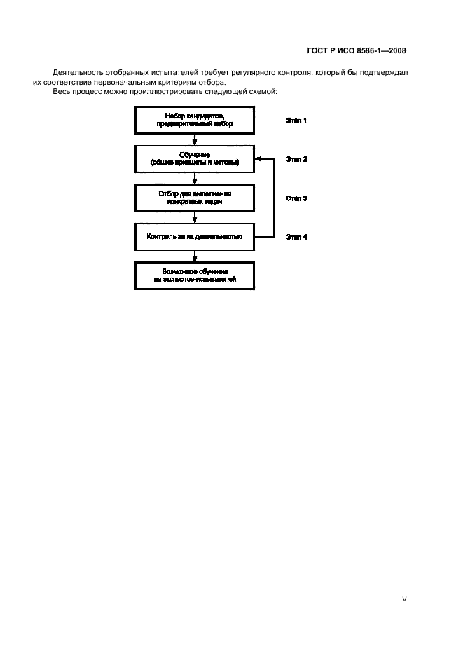
| Область и условия применения: | Настоящий стандарт предназначен для примененния во всех областях промышленности, в которых используют органолептическую оценку продуктов с помощью органов чувств, устанавливает критерии отбора испытателей и содержит описание процедуры обучения отобранных испытателей, а также контроля их деятельностью. Настоящий стандарт дополняет информацию, изложенную в ИСО 6658 | ||























Автор:
Домашняя страница автора:
Чертежи бесплатно