Наша группа Вконтакте vk.com/4ertimcom
ГОСТ 23461-84
E-mail автора:
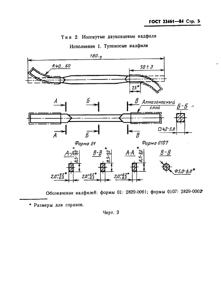
Надфили алмазные. Технические условия
| Обозначение: | ГОСТ 23461-84 |
| Статус: | действующий |
| Название рус.: | Надфили алмазные. Технические условия |
| Название англ.: | Diamond needle files. Specifications |
| Дата актуализации текста: | 19.06.2012 |
| Дата актуализации описания: | 19.06.2012 |
| Дата введения в действие: | 01.07.1985 |
| Область и условия применения: | Настоящий стандарт распространяется на алмазные надфили для ручной обработки изделий из твердого сплава, закаленных сталей, керамики и других труднообрабатываемых материалов, изготовляемых для нужд народного хозяйства и экспорта |
| Взамен: | ГОСТ 23461-79 |
| Список изменений: | №1 от 01.01.1986 (рег. 25.03.1985) «Срок действия продлен» №2 от 01.07.1989 (рег. 06.09.1988) «Срок действия продлен» |













Автор:
Домашняя страница автора:
Чертежи бесплатно