Наша группа Вконтакте vk.com/4ertimcom
ГОСТ 13963-74
E-mail автора:
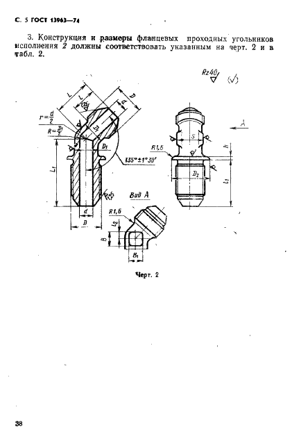
Угольники фланцевые проходные для соединений трубопроводов по наружному конусу. Конструкция и размеры
| Обозначение: | ГОСТ 13963-74 |
| Статус: | действующий |
| Название рус.: | Угольники фланцевые проходные для соединений трубопроводов по наружному конусу. Конструкция и размеры |
| Название англ.: | Flange union elbows for tube connections on external cone. Construction and dimensions |
| Дата актуализации текста: | 19.06.2012 |
| Дата актуализации описания: | 19.06.2012 |
| Дата введения в действие: | 01.07.1975 |
| Область и условия применения: | Настоящий стандарт устанавливает конструкцию и размеры угольников фланцевых проходных для соединений трубопроводов по наружному конусу |
| Взамен: | ГОСТ 13963-68 |
| Список изменений: | №1 от 01.07.1981 (рег. 29.12.1980) «Срок действия продлен» |








Автор:
Домашняя страница автора:
Чертежи бесплатно