Наша группа Вконтакте vk.com/4ertimcom
ГОСТ 13579-78
E-mail автора:
Блоки бетонные для стен подвалов. Технические условия
| Обозначение: | ГОСТ 13579-78 |
| Статус: | действующий |
| Название рус.: | Блоки бетонные для стен подвалов. Технические условия |
| Название англ.: | Concrete blocks for walls of basements. Specifications |
| Дата актуализации текста: | 19.06.2012 |
| Дата актуализации описания: | 19.06.2012 |
| Дата введения в действие: | 01.01.1979 |
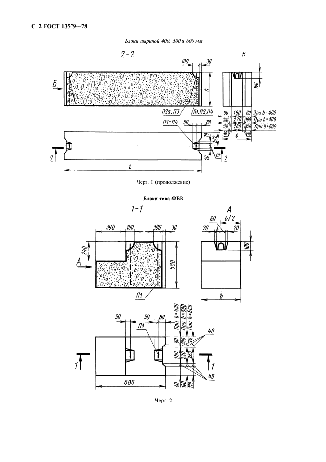
| Область и условия применения: | Настоящий стандарт распространяется на блоки, изготовляемые из тяжелого бетона, а также керамзитобетона и плотного силикатного бетона средней плотности (в высушенном до постоянной массы состоянии) не менее 1800 кг/м куб. и предназначаемые для стен подвалов и технических подпольев зданий. Сплошные блоки допускается применять для фундаментов |
| Взамен: | ГОСТ 13579-68 |
| Список изменений: | №1 от 01.01.1986 (рег. 19.12.1985) «Срок действия продлен» |











Автор:
Домашняя страница автора:
Чертежи бесплатно