Наша группа Вконтакте vk.com/4ertimcom

ГОСТ 13218.10-80

E-mail автора: 

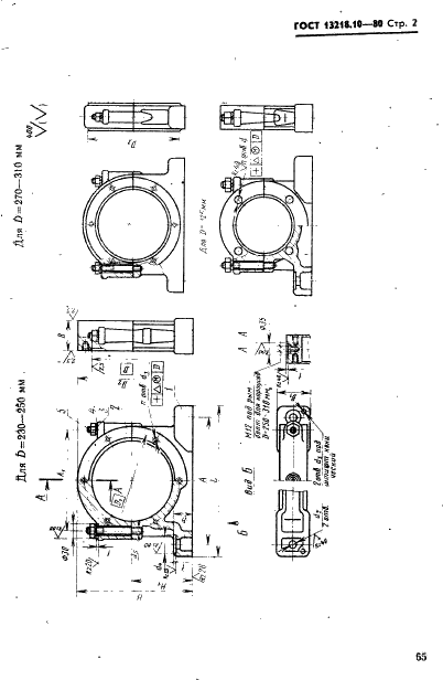
Корпуса типа РУ подшипников качения. Конструкция и размеры

Обозначение: ГОСТ 13218.10-80
Статус: действующий
Название рус.: Корпуса типа РУ подшипников качения. Конструкция и размеры
Название англ.: Pillow blocks of serie РУ for rolling bearings. Construction and dimensions
Дата актуализации текста: 19.06.2012
Дата актуализации описания: 19.06.2012
Дата введения в действие: 01.01.1982
Область и условия применения: Настоящий стандарт распространяется на разъемные узкие корпуса типа РУ со сквозным отверстием
Взамен: ГОСТ 13218.10-67


ГОСТ 13218.10-80
ГОСТ 13218.10-80
ГОСТ 13218.10-80
ГОСТ 13218.10-80
Автор: 
Домашняя страница автора: