Наша группа Вконтакте vk.com/4ertimcom
ГОСТ 12636-67
E-mail автора:
Материалы магнитомягкие высокочастотные. Методы испытаний в диапазоне частот от 1 до 200 МГц
| Обозначение: | ГОСТ 12636-67 | ||
| Статус: | действующий | ||
| Название рус.: | Материалы магнитомягкие высокочастотные. Методы испытаний в диапазоне частот от 1 до 200 МГц | ||
| Название англ.: | High frequency magnet malleable materials. Testing methods at the range from 1 to 200 mc | ||
| Дата актуализации текста: | 19.06.2012 | ||
| Дата актуализации описания: | 19.06.2012 | ||
| Дата введения в действие: | 01.01.1969 | ||
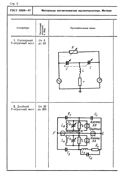
| Область и условия применения: | Настоящий стандарт распространяется на высокочастотные магнитномягкие материалы, применяемые в радиоэлектронике: магнитодиэлектрики (на основе карбонильного железа и альсиферов) и ферриты, и устанавливает методы их испытаний. Стандарт не устанавливает методов испытаний ферритов, применяемых в диапазоне СВЧ, и ферритов с прямоугольной петлей гистерезиса. Настоящим стандартом устанавливаются следующие методы испытаний магнитномягких материалов в диапазоне частот от 1 до 200 МГц, в слабых магнитных полях с напряженностью, равной или менее 0,1 коэрцитивной силы: мостовой метод, резонансный метод |
||

























Автор:
Домашняя страница автора:
Чертежи бесплатно