Наша группа Вконтакте vk.com/4ertimcom
ГОСТ 12248-2010
E-mail автора:
Грунты. Методы лабораторного определения характеристик прочности и деформируемости
| Обозначение: | ГОСТ 12248-2010 | ||
| Статус: | действующий | ||
| Название рус.: | Грунты. Методы лабораторного определения характеристик прочности и деформируемости | ||
| Название англ.: | Soils. Laboratory methods for determining the strength and strain characteristics | ||
| Дата актуализации текста: | 19.06.2012 | ||
| Дата актуализации описания: | 19.06.2012 | ||
| Дата введения в действие: | 01.01.2012 | ||
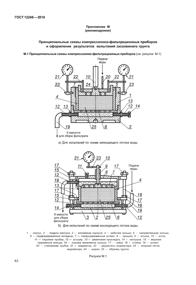
| Область и условия применения: | Настоящий стандарт устанавливает методы лабораторного определения характеристик прочности и деформируемости полускальных, дисперсных и мерзлых грунтов при их исследовании для строительства | ||
| Взамен: | ГОСТ 12248-96: ГОСТ 24143-80 | ||


















































































Автор:
Домашняя страница автора:
Чертежи бесплатно