Наша группа Вконтакте vk.com/4ertimcom

ГОСТ 6001-10000

ГОСТ 7482-96

E-mail автора: 

Глицерин. Правила приемки и методы испытаний

Обозначение: ГОСТ 7482-96
Статус: действующий
Название рус.: Глицерин. Правила приемки и методы испытаний
Название англ.: Glycerine. Acceptance rules and test methods
Дата актуализации текста: 19.06.2012
Дата актуализации описания: 19.06.2012
Дата введения в действие: 01.01.1998
Область и условия применения: Настоящий стадарт распространяется на сырой и дистиллированный глицерин и устанавливает правила приемки и методы испытаний
Взамен: ГОСТ 7482-76


ГОСТ 7482-96
ГОСТ 7482-96
ГОСТ 7482-96
ГОСТ 7482-96
ГОСТ 7482-96
ГОСТ 7482-96
ГОСТ 7482-96
ГОСТ 7482-96
ГОСТ 7482-96
ГОСТ 7482-96
ГОСТ 7482-96
ГОСТ 7482-96
ГОСТ 7482-96
ГОСТ 7482-96
ГОСТ 7482-96
ГОСТ 7482-96
ГОСТ 7482-96
ГОСТ 7482-96
ГОСТ 7482-96
ГОСТ 7482-96
ГОСТ 7482-96
ГОСТ 7482-96
ГОСТ 7482-96
ГОСТ 7482-96
ГОСТ 7482-96
ГОСТ 7482-96
ГОСТ 7482-96
ГОСТ 7482-96
ГОСТ 7482-96
ГОСТ 7482-96
ГОСТ 7482-96
ГОСТ 7482-96
ГОСТ 7482-96
ГОСТ 7482-96
ГОСТ 7482-96
ГОСТ 7482-96
Автор: 
Домашняя страница автора: 

ГОСТ 9722-97

E-mail автора: 

Порошок никелевый. Технические условия

Обозначение: ГОСТ 9722-97
Статус: действующий
Название рус.: Порошок никелевый. Технические условия
Название англ.: Nickel powder. Specifications
Дата актуализации текста: 19.06.2012
Дата актуализации описания: 19.06.2012
Дата введения в действие: 01.01.1998
Область и условия применения: Настоящий стандарт распространяется на никелевый порошок, изготовленный карбонильным или электролитическим способом, предназначенный для изготовления изделий методами порошковой металлургии и других целей.
Стандарт не распространяется на никелевый порошок, получаемый восстановлением никелевых соединений
Взамен: ГОСТ 9722-79


ГОСТ 9722-97
ГОСТ 9722-97
ГОСТ 9722-97
ГОСТ 9722-97
ГОСТ 9722-97
ГОСТ 9722-97
ГОСТ 9722-97
ГОСТ 9722-97
ГОСТ 9722-97
ГОСТ 9722-97
ГОСТ 9722-97
ГОСТ 9722-97
Автор: 
Домашняя страница автора: 

ГОСТ 8829-94

E-mail автора: 

Изделия строительные железобетонные и бетонные заводского изготовления. Методы испытаний нагружением. Правила оценки прочности, жесткости и трещиностойкости

Обозначение: ГОСТ 8829-94
Статус: действующий
Название рус.: Изделия строительные железобетонные и бетонные заводского изготовления. Методы испытаний нагружением. Правила оценки прочности, жесткости и трещиностойкости
Название англ.: Reinforced concrete and prefabricated concrete building products. Loading test methods. Assesment of strength, rigidity and crack resistance
Дата актуализации текста: 19.06.2012
Дата актуализации описания: 19.06.2012
Дата введения в действие: 01.01.1998
Область и условия применения: Настоящий стандарт распространяется на методы контрольных статических испытаний нагружением для оценки прочности, жесткости и трещиностойкости бетонных и железобетонных строительных изделий с ненапрягаемой и напрягаемой стальной арматурой, а также со смешанным армированием, изготовляемых из всех видов бетонов, кроме жаростойких
Взамен: ГОСТ 8829-85


ГОСТ 8829-94
ГОСТ 8829-94
ГОСТ 8829-94
ГОСТ 8829-94
ГОСТ 8829-94
ГОСТ 8829-94
ГОСТ 8829-94
ГОСТ 8829-94
ГОСТ 8829-94
ГОСТ 8829-94
ГОСТ 8829-94
ГОСТ 8829-94
ГОСТ 8829-94
ГОСТ 8829-94
ГОСТ 8829-94
ГОСТ 8829-94
ГОСТ 8829-94
ГОСТ 8829-94
ГОСТ 8829-94
ГОСТ 8829-94
ГОСТ 8829-94
ГОСТ 8829-94
ГОСТ 8829-94
ГОСТ 8829-94
ГОСТ 8829-94
ГОСТ 8829-94
ГОСТ 8829-94
ГОСТ 8829-94
ГОСТ 8829-94
ГОСТ 8829-94
ГОСТ 8829-94
ГОСТ 8829-94
ГОСТ 8829-94
Автор: 
Домашняя страница автора: 

ГОСТ 7630-96

E-mail автора: 

Рыба, морские млекопитающие, морские беспозвоночные, водоросли и продукты их переработки. Маркировка и упаковка

Обозначение: ГОСТ 7630-96
Статус: действующий
Название рус.: Рыба, морские млекопитающие, морские беспозвоночные, водоросли и продукты их переработки. Маркировка и упаковка
Название англ.: Fish, marine mammals, marine invertebrates, algae and products of their processing. Labelling and packing
Дата актуализации текста: 19.06.2012
Дата актуализации описания: 19.06.2012
Дата введения в действие: 01.01.1998
Область и условия применения: Настоящий стандарт распространяется на рыбу, морских млекопитающих, морских беспозвоночных, водоросли и продукты их переработки (кроме консервов и пресервов), упакованные в потребительскую и транспортную тару, и устанавливает требования к маркировке и упаковке
Взамен: ГОСТ 7630-87


ГОСТ 7630-96
ГОСТ 7630-96
ГОСТ 7630-96
ГОСТ 7630-96
ГОСТ 7630-96
ГОСТ 7630-96
ГОСТ 7630-96
ГОСТ 7630-96
ГОСТ 7630-96
ГОСТ 7630-96
ГОСТ 7630-96
ГОСТ 7630-96
ГОСТ 7630-96
ГОСТ 7630-96
ГОСТ 7630-96
ГОСТ 7630-96
ГОСТ 7630-96
ГОСТ 7630-96
Автор: 
Домашняя страница автора: 

ГОСТ 7448-96

E-mail автора: 

Рыба соленая. Технические условия

Обозначение: ГОСТ 7448-96
Статус: заменён
Название рус.: Рыба соленая. Технические условия
Название англ.: Salted fish. Specifications
Дата актуализации текста: 19.06.2012
Дата актуализации описания: 19.06.2012
Дата введения в действие: 01.01.1998
Область и условия применения: Настоящий стандарт распространяется на соленую рыбу.
Стандарт не распространяется на анчоусовые, сельди, сардины (сардину, сардинопса, сардинеллу), салаку, кильку, тюльку, корюшку, сиговые, осетровые, лососевые (дальневосточные; каспийский, балтийский, озерный, беломорский лососи; семгу, белорыбицу и нельму), судака, жирную мойву, а также на океаническую хрящевую рыбу
Взамен: ГОСТ 7448-75 ГОСТ 16081-70
Заменяющий: ГОСТ 7448-2006


ГОСТ 7448-96
ГОСТ 7448-96
ГОСТ 7448-96
ГОСТ 7448-96
ГОСТ 7448-96
ГОСТ 7448-96
ГОСТ 7448-96
ГОСТ 7448-96
ГОСТ 7448-96
ГОСТ 7448-96
Автор: 
Домашняя страница автора: 

ГОСТ 6065-97

E-mail автора: 

Консервы из обжаренной рыбы в масле. Технические условия

Обозначение: ГОСТ 6065-97
Статус: действующий
Название рус.: Консервы из обжаренной рыбы в масле. Технические условия
Название англ.: Canned of fried fish in oil. Specifications
Дата актуализации текста: 19.06.2012
Дата актуализации описания: 19.06.2012
Дата введения в действие: 01.01.1998
Область и условия применения: Настоящий стандарт распространяется на консервы из обжаренной рыбы всех видов, кроме океанических хрящевых рыб, илиши, маринки, османа, карпа, форели, осетровых, лососевых дальневосточных, лосося балтийского и озерного, семги, омуля, судака, сазана, зубатки, тарани, рыбца балтийского (сырти) и воблы
Взамен: ГОСТ 6065-82


ГОСТ 6065-97
ГОСТ 6065-97
ГОСТ 6065-97
ГОСТ 6065-97
ГОСТ 6065-97
ГОСТ 6065-97
ГОСТ 6065-97
ГОСТ 6065-97
Автор: 
Домашняя страница автора: 

ГОСТ 6441-96

E-mail автора: 

Изделия кондитерские пастильные. Общие технические условия

Обозначение: ГОСТ 6441-96
Статус: действующий
Название рус.: Изделия кондитерские пастильные. Общие технические условия
Название англ.: Pastila type confectionery. General specifications
Дата актуализации текста: 19.06.2012
Дата актуализации описания: 19.06.2012
Дата введения в действие: 01.08.1997
Область и условия применения: Настоящий стандарт распространяется на пастильные кондитерские изделия, изготовленные из фруктово-ягодного пюре с сахаром, пенообразователем, с добавлением или без добавления студнеобразователя
Взамен: ГОСТ 6441-77


ГОСТ 6441-96
ГОСТ 6441-96
ГОСТ 6441-96
ГОСТ 6441-96
ГОСТ 6441-96
ГОСТ 6441-96
ГОСТ 6441-96
ГОСТ 6441-96
ГОСТ 6441-96
ГОСТ 6441-96
ГОСТ 6441-96
ГОСТ 6441-96
Автор: 
Домашняя страница автора: 

ГОСТ 7370-98

E-mail автора: 

Крестовины железнодорожные типов Р75, Р65 и Р50. Технические условия

Обозначение: ГОСТ 7370-98
Статус: действующий
Название рус.: Крестовины железнодорожные типов Р75, Р65 и Р50. Технические условия
Название англ.: Railroad frogs of P75, P65 and P50 types. Specifications
Дата актуализации текста: 19.06.2012
Дата актуализации описания: 19.06.2012
Дата введения в действие: 01.01.2000
Область и условия применения: Настоящий стандарт распространяется на крестовины типов Р75, Р65 и Р50 острые и тупые, цельнолитые и сборные с литым сердечником, используемые на железных дорогах широкой колеи, относящиеся к изделиям особо ответственного назначения, и на их детали
Взамен: ГОСТ 7370-86


ГОСТ 7370-98
ГОСТ 7370-98
ГОСТ 7370-98
ГОСТ 7370-98
ГОСТ 7370-98
ГОСТ 7370-98
ГОСТ 7370-98
ГОСТ 7370-98
ГОСТ 7370-98
ГОСТ 7370-98
ГОСТ 7370-98
Автор: 
Домашняя страница автора: 

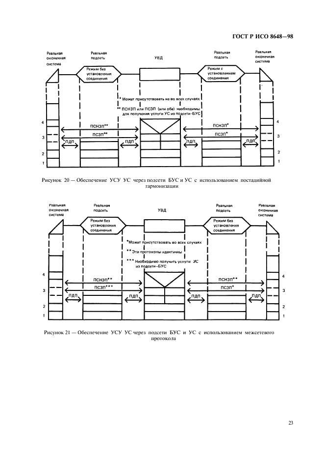
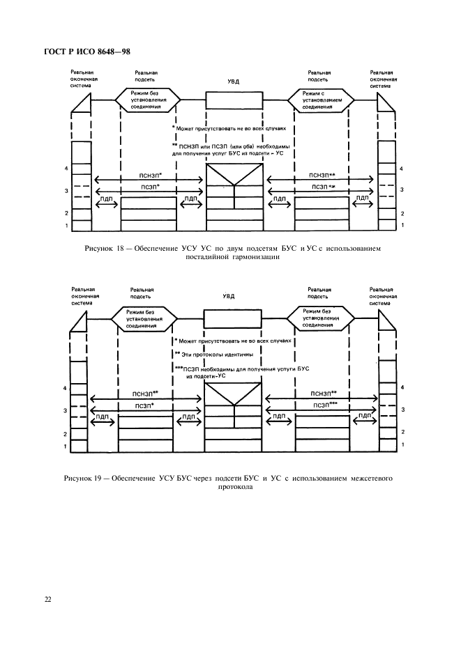
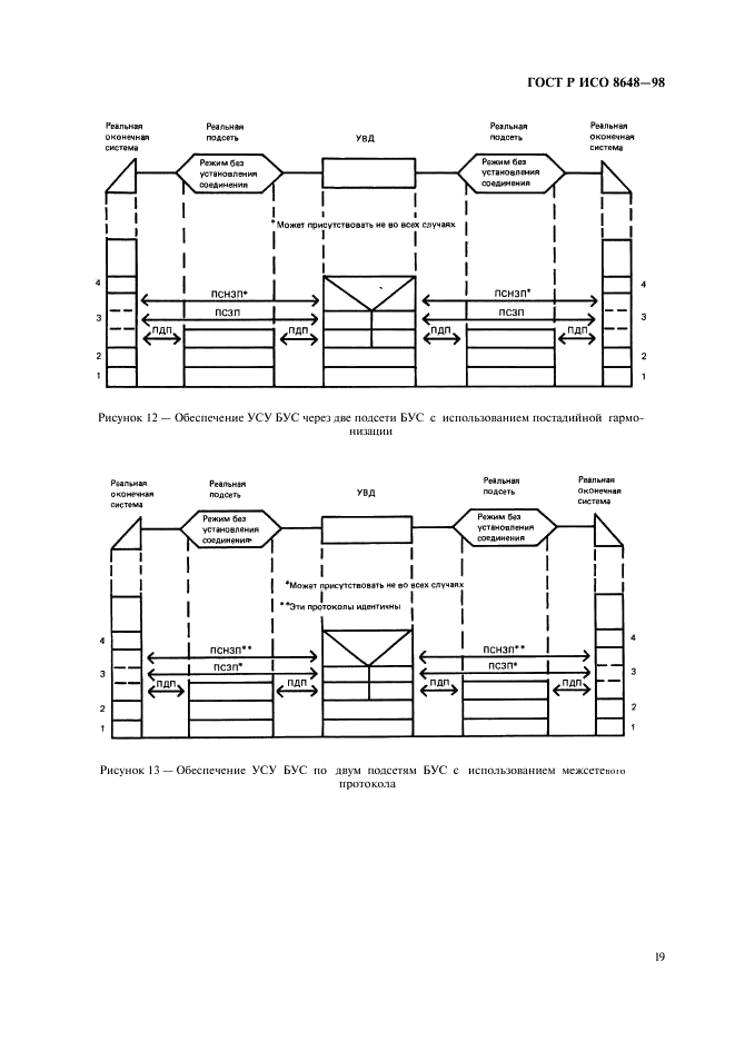
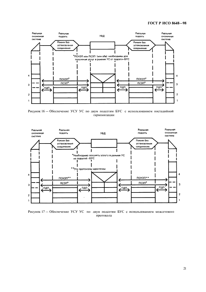
ГОСТ Р ИСО 8648-98

E-mail автора: 

Информационная технология. Взаимосвязь открытых систем. Внутренняя организация сетевого уровня

Обозначение: ГОСТ Р ИСО 8648-98
Статус: действующий
Название рус.: Информационная технология. Взаимосвязь открытых систем. Внутренняя организация сетевого уровня
Название англ.: Information technology. Open systems interconnection. Internal organization of the network layer
Дата актуализации текста: 19.06.2012
Дата актуализации описания: 19.06.2012
Дата введения в действие: 01.01.1999
Область и условия применения: Настоящий стандарт устанавливает архитектурную модель сетевого уровня взаимосвязи открытых систем (ВОС) в качестве основы его стандартизации, позволяя охватить архитектурой ВОС существующие сети
Стандарт распространяется на разработку и применение протоколов сетевого уровня, действующих между логическими объектами сетевого уровня оконечных систем, обеспечивающих услуги сетевого уровня ВОС, либо промежуточных систем, обеспечивающих функции маршрутизации и ретрансляции


ГОСТ Р ИСО 8648-98
ГОСТ Р ИСО 8648-98
ГОСТ Р ИСО 8648-98
ГОСТ Р ИСО 8648-98
ГОСТ Р ИСО 8648-98
ГОСТ Р ИСО 8648-98
ГОСТ Р ИСО 8648-98
ГОСТ Р ИСО 8648-98
ГОСТ Р ИСО 8648-98
ГОСТ Р ИСО 8648-98
ГОСТ Р ИСО 8648-98
ГОСТ Р ИСО 8648-98
ГОСТ Р ИСО 8648-98
ГОСТ Р ИСО 8648-98
ГОСТ Р ИСО 8648-98
ГОСТ Р ИСО 8648-98
ГОСТ Р ИСО 8648-98
ГОСТ Р ИСО 8648-98
ГОСТ Р ИСО 8648-98
ГОСТ Р ИСО 8648-98
ГОСТ Р ИСО 8648-98
ГОСТ Р ИСО 8648-98
ГОСТ Р ИСО 8648-98
ГОСТ Р ИСО 8648-98
ГОСТ Р ИСО 8648-98
ГОСТ Р ИСО 8648-98
ГОСТ Р ИСО 8648-98
Автор: 
Домашняя страница автора: 

ГОСТ 6942-98

E-mail автора: 

Трубы чугунные канализационные и фасонные части к ним. Технические условия

Обозначение: ГОСТ 6942-98
Статус: действующий
Название рус.: Трубы чугунные канализационные и фасонные части к ним. Технические условия
Название англ.: Cast iron waste pipes and fitings. Specifications
Дата актуализации текста: 19.06.2012
Дата актуализации описания: 19.06.2012
Дата введения в действие: 01.01.1999
Область и условия применения: Настоящий стандарт распространяется на чугунные канализационные трубы и фасонные части к ним, предназначенные для систем внутренней канализации зданий
Взамен: ГОСТ 6942.0-80 ГОСТ 6942.1-80 ГОСТ 6942.2-80 ГОСТ 6942.3-80 ГОСТ 6942.4-80 ГОСТ 6942.5-80 ГОСТ 6942.6-80 ГОСТ 6942.7-80 ГОСТ 6942.8-80 ГОСТ 6942.9-80 ГОСТ 6942.10-80 ГОСТ 6942.11-80 ГОСТ 6942.12-80 ГОСТ 6942.13-80 ГОСТ 6942.14-80 ГОСТ 6942.15-80 ГОСТ 6942.16-80 ГОСТ 6942.17-80 ГОСТ 6942.18-80 ГОСТ 6942.19-80 ГОСТ 6942.20-80 ГОСТ 6942.21-80 ГОСТ 6942.22-80 ГОСТ 6942.23-80 ГОСТ 6942.24-80 ГОСТ 4.227-83


ГОСТ 6942-98
ГОСТ 6942-98
ГОСТ 6942-98
ГОСТ 6942-98
ГОСТ 6942-98
ГОСТ 6942-98
ГОСТ 6942-98
ГОСТ 6942-98
ГОСТ 6942-98
ГОСТ 6942-98
ГОСТ 6942-98
ГОСТ 6942-98
ГОСТ 6942-98
ГОСТ 6942-98
ГОСТ 6942-98
ГОСТ 6942-98
ГОСТ 6942-98
ГОСТ 6942-98
ГОСТ 6942-98
ГОСТ 6942-98
ГОСТ 6942-98
ГОСТ 6942-98
ГОСТ 6942-98
ГОСТ 6942-98
ГОСТ 6942-98
ГОСТ 6942-98
ГОСТ 6942-98
ГОСТ 6942-98
ГОСТ 6942-98
ГОСТ 6942-98
ГОСТ 6942-98
ГОСТ 6942-98
ГОСТ 6942-98
ГОСТ 6942-98
ГОСТ 6942-98
ГОСТ 6942-98
ГОСТ 6942-98
ГОСТ 6942-98
ГОСТ 6942-98
ГОСТ 6942-98
ГОСТ 6942-98
ГОСТ 6942-98
ГОСТ 6942-98
ГОСТ 6942-98
ГОСТ 6942-98
ГОСТ 6942-98
Автор: 
Домашняя страница автора: 

Страницы