Наша группа Вконтакте vk.com/4ertimcom

ГОСТ 6001-10000

ГОСТ 8908-81

E-mail автора: 

Основные нормы взаимозаменяемости. Нормальные углы и допуски углов

Обозначение: ГОСТ 8908-81
Статус: действующий
Название рус.: Основные нормы взаимозаменяемости. Нормальные углы и допуски углов
Название англ.: Basic norms of interchangeability. Standart angles and angle telerances
Дата актуализации текста: 19.06.2012
Дата актуализации описания: 19.06.2012
Дата введения в действие: 01.01.1982
Область и условия применения: Настоящий стандарт распространяется на углы (угловые размеры) и допуски углов конусов и призматических элементов деталей с длиной меньшей стороны угла до 2500 мм, применяемые в машиностроении. Установленные стандартом углы и допуски углов рекомендуется применять и для других отраслей промышленности.
Стандарт не распространяется на углы, связанные расчетными зависимостями с другими принятыми размерами, на углы конусов по ГОСТ 8593-81 и на допуски конусов, для которых задан допуск диаметра в каждом сечении на длине конуса и отклонения угла конуса допускаются в пределах всего поля допуска диаметра конуса
Взамен: ГОСТ 8908-58
Список изменений: №0 от 01.01.2012 (рег. 04.12.2009) «Поправка к изменению»


ГОСТ 8908-81
ГОСТ 8908-81
ГОСТ 8908-81
ГОСТ 8908-81
ГОСТ 8908-81
ГОСТ 8908-81
ГОСТ 8908-81
ГОСТ 8908-81
ГОСТ 8908-81
ГОСТ 8908-81
Автор: 
Домашняя страница автора: 

ГОСТ 7619.5-81

E-mail автора: 

Шпат плавиковый. Метод определения полуторных окислов

Обозначение: ГОСТ 7619.5-81
Статус: действующий
Название рус.: Шпат плавиковый. Метод определения полуторных окислов
Название англ.: Fluorite. Method for the determination of sesquioxides
Дата актуализации текста: 19.06.2012
Дата актуализации описания: 19.06.2012
Дата введения в действие: 01.01.1982
Область и условия применения: Настоящий стандарт распространяется на плавиковый шпат и устанавливает гравиметрический метод определения содержания полуторных окислов при массовой доле от 0,1 до 5 %.
Метод основан на осаждении полуторных окислов уротропином после отделения сульфата бария и окисления железа в растворе, полученном после обработки навески серной и фтористоводородной кислотами и сплавления остатка с углекислым калием-натрием. Осадок полуторных окислов прокаливают при 900-1000 град.С до постоянной массы и взвешивают
Взамен: ГОСТ 7619.5-70
Список изменений: №1 от 01.01.1987 (рег. 21.07.1986) «Срок действия продлен»
№2 от 01.07.1992 (рег. 26.12.1991) «Срок действия продлен»


ГОСТ 7619.5-81
ГОСТ 7619.5-81
ГОСТ 7619.5-81
ГОСТ 7619.5-81
ГОСТ 7619.5-81
ГОСТ 7619.5-81
Автор: 
Домашняя страница автора: 

ГОСТ 9272-81

E-mail автора: 

Блоки стеклянные пустотелые. Технические условия

Обозначение: ГОСТ 9272-81
Статус: действующий
Название рус.: Блоки стеклянные пустотелые. Технические условия
Название англ.: Hollow glass blocks. Specifications
Дата актуализации текста: 19.06.2012
Дата актуализации описания: 19.06.2012
Дата введения в действие: 01.01.1983
Область и условия применения: Настоящий стандарт распространяется на стеклянные пустотелые сварные блоки неокрашенные и цветные, предназначенные для кладки светопрозрачных не несущих ограждающих конструкций зданий и сооружений
Взамен: ГОСТ 9272-75
Список изменений: №1 от 01.01.1983 (рег. 22.12.1982) «Срок действия продлен»
№2 от 01.01.1986 (рег. 18.10.1984) «Срок действия продлен»


ГОСТ 9272-81
ГОСТ 9272-81
ГОСТ 9272-81
ГОСТ 9272-81
ГОСТ 9272-81
ГОСТ 9272-81
ГОСТ 9272-81
ГОСТ 9272-81
ГОСТ 9272-81
ГОСТ 9272-81
ГОСТ 9272-81
ГОСТ 9272-81
ГОСТ 9272-81
ГОСТ 9272-81
ГОСТ 9272-81
Автор: 
Домашняя страница автора: 

ГОСТ 7619.7-81

E-mail автора: 

Шпат плавиковый. Метод определения серы (общей)

Обозначение: ГОСТ 7619.7-81
Статус: действующий
Название рус.: Шпат плавиковый. Метод определения серы (общей)
Название англ.: Fluorite. Method for the determination of total sulphur content
Дата актуализации текста: 19.06.2012
Дата актуализации описания: 19.06.2012
Дата введения в действие: 01.01.1982
Область и условия применения: Настоящий стандарт распространяется на плавиковый шпат и устанавливает титриметрический метод определения серы (общей) при массовой доле от 0,05 до 5 %.
Метод основан на сжигании навески в токе углекислоты при температуре 1200-1250 град.С. Образовавшаяся двуокись серы выносится током углекислого газа в адсорбционный сосуд и поглощается в нем водой с образованием сернистой кислоты, которую оттитровывают раствором йода в присутствии индикатора - крахмала. Сжигание серы в атмосфере углекислоты происходит стехиометрически, что позволяет пользоваться теоретическим титром раствора йода
Взамен: ГОСТ 7619.7-70
Список изменений: №1 от 01.01.1987 (рег. 21.07.1986) «Срок действия продлен»
№2 от 01.07.1992 (рег. 26.12.1991) «Срок действия продлен»


ГОСТ 7619.7-81
ГОСТ 7619.7-81
ГОСТ 7619.7-81
ГОСТ 7619.7-81
ГОСТ 7619.7-81
ГОСТ 7619.7-81
ГОСТ 7619.7-81
ГОСТ 7619.7-81
Автор: 
Домашняя страница автора: 

ГОСТ 9393-82

E-mail автора: 

Жир ветеринарный из рыбы и морских млекопитающих. Технические условия

Обозначение: ГОСТ 9393-82
Статус: действующий
Название рус.: Жир ветеринарный из рыбы и морских млекопитающих. Технические условия
Название англ.: Fish and animals vetenary fat. Specifications
Дата актуализации текста: 19.06.2012
Дата актуализации описания: 19.06.2012
Дата введения в действие: 01.01.1983
Область и условия применения: Настоящий стандарт распространяется на жир, изготовляемый из рыбы и морских млекопитающих, натуральный и с добавлением витаминов, предназначенный для ветеринарных целей и подкормки сельскохозяйственных животных и птиц
Взамен: ГОСТ 9393-69
Список изменений: №0 от 24.06.1987 (рег. 24.06.1987) «Срок действия продлен»
№1 от 01.08.1984 (рег. 12.04.1984) «Срок действия продлен»
№2 от 01.01.1987 (рег. 19.08.1986) «Срок действия продлен»
№3 от 01.05.1988 (рег. 13.11.1987) «Срок действия продлен»
№4 от 01.04.1989 (рег. 05.10.1988) «Срок действия продлен»
№5 от 01.10.1990 (рег. 28.03.1990) «Срок действия продлен»
№6 от 01.06.1993 (рег. 03.11.1992) «Срок действия продлен»


ГОСТ 9393-82
ГОСТ 9393-82
ГОСТ 9393-82
ГОСТ 9393-82
ГОСТ 9393-82
ГОСТ 9393-82
ГОСТ 9393-82
ГОСТ 9393-82
ГОСТ 9393-82
ГОСТ 9393-82
Автор: 
Домашняя страница автора: 

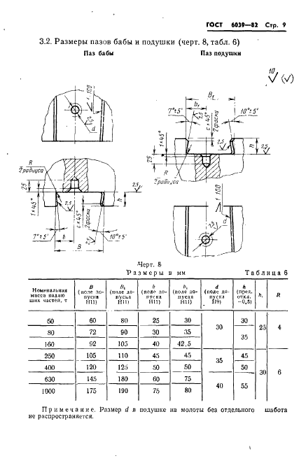
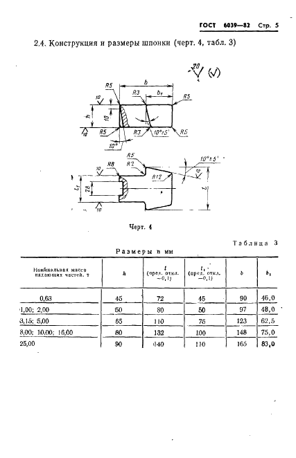
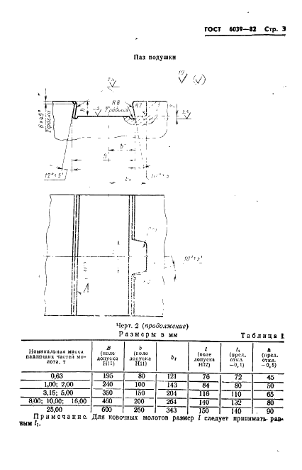
ГОСТ 6039-82

E-mail автора: 

Молоты ковочные и штамповочные. Размеры элементов крепления штампов и бойков в бабе и подушке

Обозначение: ГОСТ 6039-82
Статус: действующий
Название рус.: Молоты ковочные и штамповочные. Размеры элементов крепления штампов и бойков в бабе и подушке
Название англ.: Forging and stamping hammers. Dimensions for fixing elements of hammer dies and block in tup and cushion
Дата актуализации текста: 19.06.2012
Дата актуализации описания: 19.06.2012
Дата введения в действие: 01.07.1983
Область и условия применения: Настоящий стандарт распространяется на ковочные и штамповочные молоты для производства поковок и выполнения различных операций свободной ковкой, изготовляемые для нужд народного хозяйства и на экспорт
Взамен: ГОСТ 6039-71


ГОСТ 6039-82
ГОСТ 6039-82
ГОСТ 6039-82
ГОСТ 6039-82
ГОСТ 6039-82
ГОСТ 6039-82
ГОСТ 6039-82
ГОСТ 6039-82
ГОСТ 6039-82
ГОСТ 6039-82
ГОСТ 6039-82
ГОСТ 6039-82
ГОСТ 6039-82
ГОСТ 6039-82
ГОСТ 6039-82
ГОСТ 6039-82
Автор: 
Домашняя страница автора: 

ГОСТ 6501-82

E-mail автора: 

Целлюлоза сульфитная небеленая из хвойной древесины. Технические условия

Обозначение: ГОСТ 6501-82
Статус: действующий
Название рус.: Целлюлоза сульфитная небеленая из хвойной древесины. Технические условия
Название англ.: Sulphite unbleached pulp of coniferous wood. Specifications
Дата актуализации текста: 19.06.2012
Дата актуализации описания: 19.06.2012
Дата введения в действие: 01.01.1983
Область и условия применения: Настоящий стандарт распространяется на небеленую сульфитную целлюлозу из хвойной древесины, применяемую для производства различных видов бумаги и картона
Взамен: ГОСТ 6501-73
Список изменений: №1 от 01.01.1988 (рег. 20.12.1986) «Срок действия продлен»
№2 от 01.07.1990 (рег. 27.12.1989) «Срок действия продлен»


ГОСТ 6501-82
ГОСТ 6501-82
ГОСТ 6501-82
ГОСТ 6501-82
ГОСТ 6501-82
ГОСТ 6501-82
Автор: 
Домашняя страница автора: 

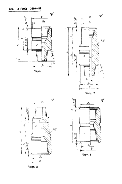
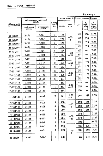
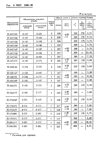
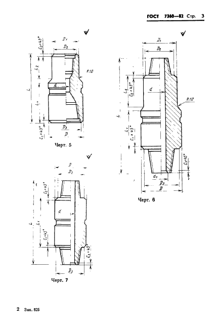
ГОСТ 7360-82

E-mail автора: 

Переводники для бурильных колонн. Технические условия

Обозначение: ГОСТ 7360-82
Статус: действующий
Название рус.: Переводники для бурильных колонн. Технические условия
Название англ.: Drill-rod for substitutes. Specifications
Дата актуализации текста: 19.06.2012
Дата актуализации описания: 19.06.2012
Дата введения в действие: 01.01.1983
Область и условия применения: Настоящий стандарт распространяется на переводники для соединения между собой частей бурильной колонны и присоединения к ней инструмента, применяемого при бурении скважин, изготовляемые для нужд народного хозяйства и для экспорта
Взамен: ГОСТ 7360-75
Список изменений: №1 от 01.01.1988 (рег. 26.06.1987) «Срок действия продлен»


ГОСТ 7360-82
ГОСТ 7360-82
ГОСТ 7360-82
ГОСТ 7360-82
ГОСТ 7360-82
ГОСТ 7360-82
ГОСТ 7360-82
ГОСТ 7360-82
ГОСТ 7360-82
ГОСТ 7360-82
ГОСТ 7360-82
ГОСТ 7360-82
ГОСТ 7360-82
ГОСТ 7360-82
ГОСТ 7360-82
ГОСТ 7360-82
ГОСТ 7360-82
ГОСТ 7360-82
ГОСТ 7360-82
ГОСТ 7360-82
ГОСТ 7360-82
ГОСТ 7360-82
ГОСТ 7360-82
ГОСТ 7360-82
ГОСТ 7360-82
ГОСТ 7360-82
ГОСТ 7360-82
ГОСТ 7360-82
ГОСТ 7360-82
ГОСТ 7360-82
ГОСТ 7360-82
Автор: 
Домашняя страница автора: 

ГОСТ 7110-82

E-mail автора: 

Светильники ручные. Общие технические условия

Обозначение: ГОСТ 7110-82
Статус: действующий
Название рус.: Светильники ручные. Общие технические условия
Название англ.: Handlamps. General specifications
Дата актуализации текста: 19.06.2012
Дата актуализации описания: 19.06.2012
Дата введения в действие: 01.01.1984
Область и условия применения: Настоящий стандарт распространяется на ручные светильники с лампами накаливания и люминесцентными лампами, предназначенными для временного местного освещения рабочей зоны для работы в сетях переменного тока напряжением до 220 В, изготовляемые для нужд народного хозяйства и для экспорта. Стандарт не распространяется на светильники специальног назначения и для взрывоопасных помещений
Взамен: ГОСТ 7110-69
Список изменений: №0 от 16.06.1988 (рег. 16.06.1988) «Срок действия продлен»
№0 от 01.07.2012 (рег. 11.07.2011) «Поправка к изменению»
№1 от 01.03.1989 (рег. 08.08.1988) «Срок действия продлен»


ГОСТ 7110-82
ГОСТ 7110-82
ГОСТ 7110-82
ГОСТ 7110-82
ГОСТ 7110-82
ГОСТ 7110-82
ГОСТ 7110-82
ГОСТ 7110-82
ГОСТ 7110-82
ГОСТ 7110-82
ГОСТ 7110-82
ГОСТ 7110-82
ГОСТ 7110-82
ГОСТ 7110-82
ГОСТ 7110-82
Автор: 
Домашняя страница автора: 

ГОСТ 8320.6-83

E-mail автора: 

Профили периодические поперечно-винтовой прокатки для вала-шестерни. Сортамент

Обозначение: ГОСТ 8320.6-83
Статус: действующий
Название рус.: Профили периодические поперечно-винтовой прокатки для вала-шестерни. Сортамент
Название англ.: Periodic sections produced by cross-helical rolling for gear shaft. Dimensions
Дата актуализации текста: 19.06.2012
Дата актуализации описания: 19.06.2012
Дата введения в действие: 01.01.1985
Область и условия применения: Настоящий стандарт распространяется на горячекатаные круглые периодические профили для вала-шестерни, изготовляемые поперечно-винтовой прокаткой
Взамен: ГОСТ 8320.6-73


ГОСТ 8320.6-83
Автор: 
Домашняя страница автора: 

Страницы